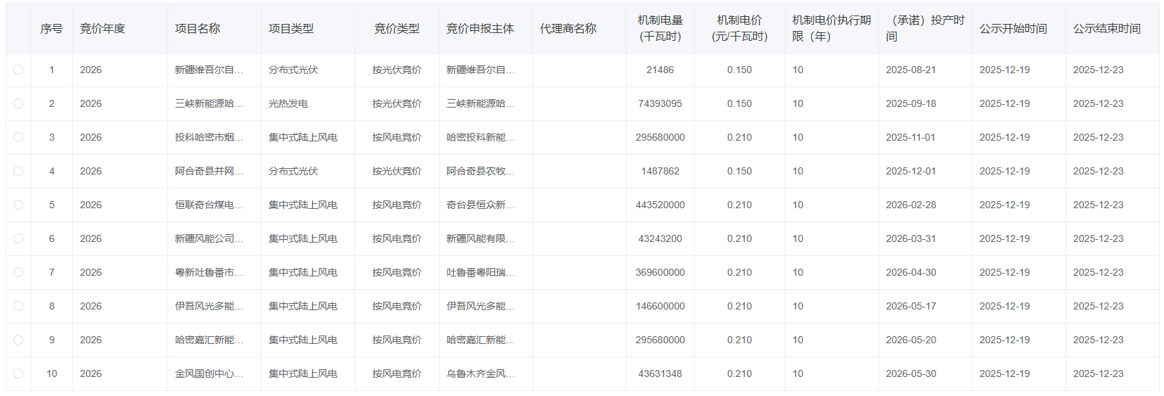
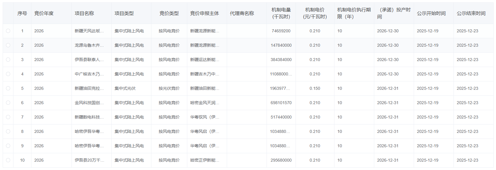
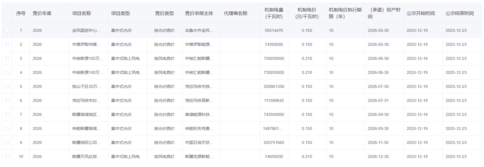
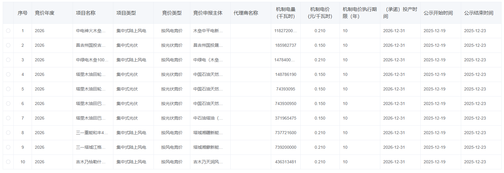
12月19日,国网新能源云平台公示新疆2026年度增量新能源项目机制电价竞价结果,共40个项目入围。其中:
2026年按光伏竞价项目竞价出清结果:机制电量规模6763841680千瓦时,机制电价水平0.150元/千瓦时,项目16个;
2026年按风电竞价项目竞价出清结果:机制电量规模13062033599千瓦时,机制电价水平0.210元/千瓦时,项目24个。
根据此前,新疆维吾尔自治区2026年度增量新能源项目机制电价竞价公告:按照电源类型风电与太阳能(含分布式光伏)分类竞价,电价区间均为0.15~0.262元/千瓦时。
申报电量总规模为198.26亿度。其中,风电项目机制电量总规模为1306203.36万千瓦时;太阳能(集中式光伏、光热、分布式光伏)项目机制电量总规模为676384.168万千瓦时。
单个项目机制电量比例上限:风电、太阳能单个项目机制电量申报上限计算比例为80%。上年度(2024年12月—2025年11月)风电平均利用小时数1848小时,太阳能1082小时。
详情如下:
