12月2日,国网新能源云发布辽宁省2025-2026年度新能源机制电价竞价结果公示,合计1274个项目入选。
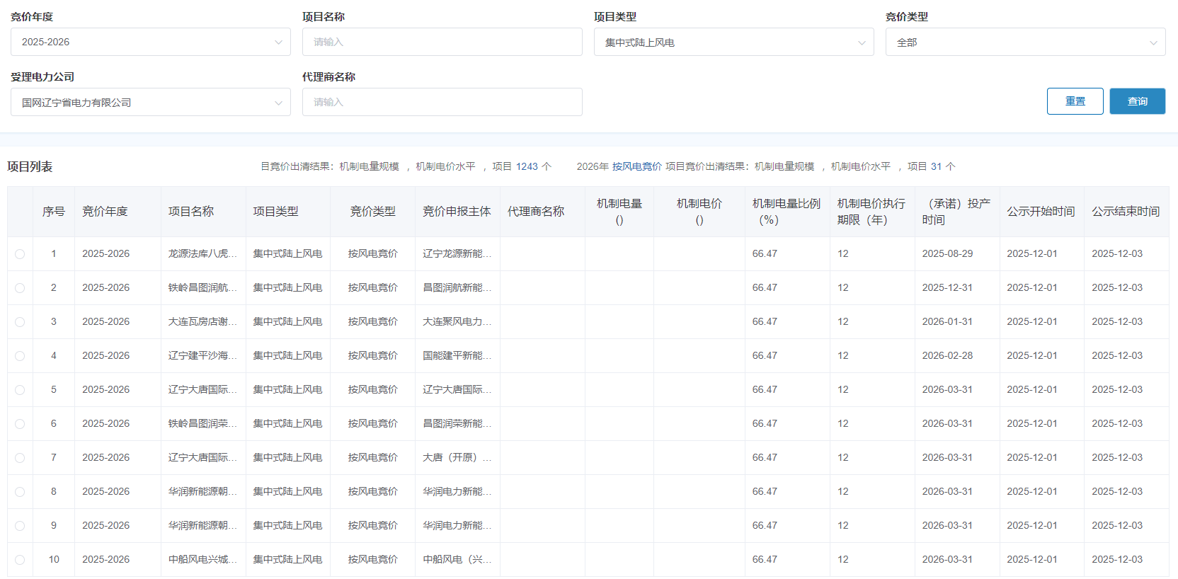
2026年按风电竞价项目竞价出清结果:机制电量规模8022092.531兆瓦时,机制电价水平0.33元/千瓦时,项目31个;
2026年按光伏竞价项目竞价出清结果:机制电量规模142818.117兆瓦时,机制电价水平0.3元/千瓦时,项目1243个。
根据辽宁136号文竞价文件,机制电量总规模为118.63亿千瓦时,其中光伏12.75亿千瓦时,风电105.88亿千瓦时。风电、光伏竞价上限均为0.33元/千瓦时,竞价下限均为0.18元/千瓦时。单个项目申请纳入机制的电量不得高于其年上网电量80%。入选项目执行期限为12年,申报充足率下限均为120%。
风电项目节选如下:



