12月1日,宁夏2025-2026年新能源机制电价竞价结果公布。
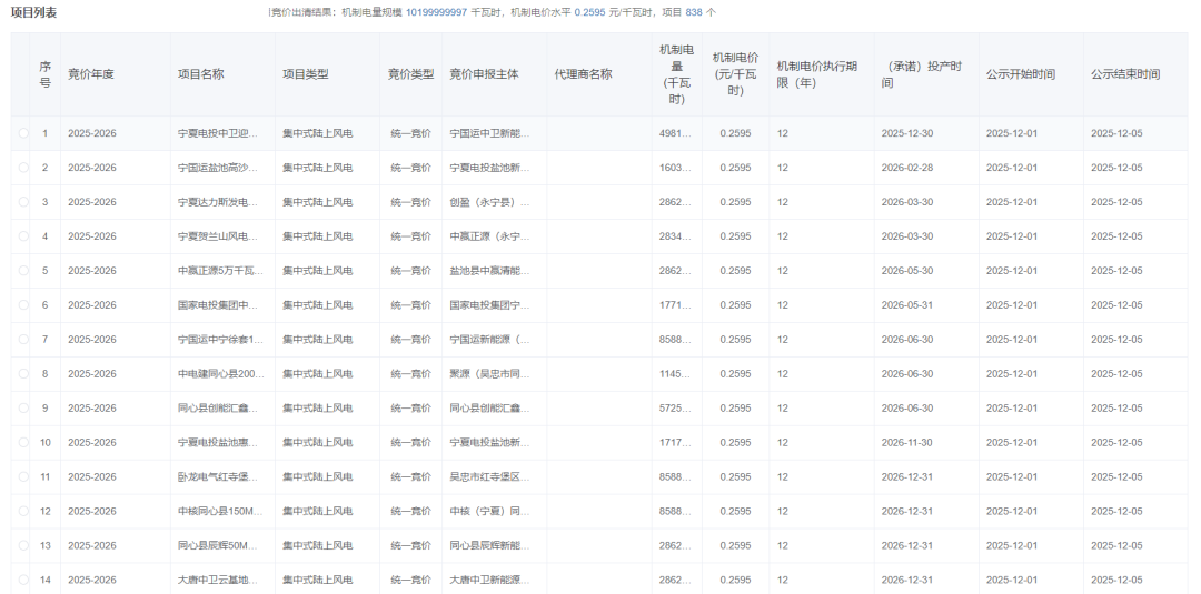
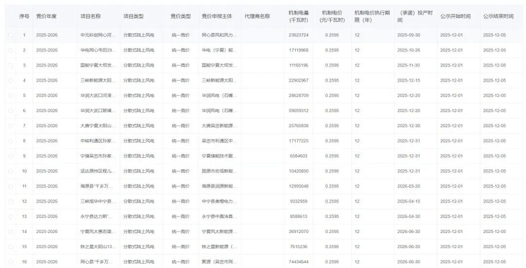
根据公示,2025-2026年统一竞价项目竞价出清结果:机制电量规模10199999997千瓦时,机制电价水平0.2595元/千瓦时,项目838个。
其中,涉及风电项目39个,16个集中式风电项目,23个分散式风电项目。竞价总规模为25.2175亿千瓦时。
10月31日,宁夏自治区发改委发布《关于2025-2026年新能源机制电价竞价工作有关事项的通知》。
《通知》指出,竞价主体范围为2025年6月1日-2026年12月31日投产(全容量并网,下同)的风电、光伏项目。风电、光伏项目同场竞价、出清。
机制电量总规模为102亿千瓦时。风电、光伏竞价上限均为0.2595元/千瓦时,下限均为0.18元/千瓦时。风电、光伏竞价申报充足率不低于125%。
风电项目节选如下:



